-
Automation 自动化工程
-
EMS 企业能源治理系统
-
Welding惯性摩擦焊机装备
电厂自动化控制系统
电厂除灰除渣自动化控制系统
1.概述:
宝钢电厂1号机组的炉底渣和省煤器、空气预热器的粗灰接纳古板的水力除灰、渣系统,,,,每年有大宗锅炉冲灰水、冲渣水、渣斗溢流水排放入灰场,,,,在灰场固体沉淀后废水排入长江,,,,造成大宗的能源铺张和情形污染。。。。。水力除灰、除渣系统降低了灰渣的活性和综合使用效益,,,,同时为冲灰冲渣水设置灰场也占用了宝钢名贵的土地资源。。。。。为节约能源,,,,镌汰情形污染,,,,节约土地资源,,,,提高灰渣的综合使用价值,,,,灰渣接纳负压实力除灰系统和风冷式干除渣系统举行网络,,,,并将网络后的灰渣正压压送至煤粉公司处置惩罚后综合使用。。。。。
灰处置惩罚湿出灰改干出灰的刷新也是提高灰处置惩罚控制系统刷新的自动化水平的刷新,,,,此次刷新中用PLC手艺取代了继电器控制系统,,,,使得灰处置惩罚控制系统自动化水平提高成为可能。。。。。在本次刷新中我们设置了1号机组单位灰处置惩罚PLC控制系统一套,,,,认真干灰网络系统、干渣网络、干渣压送系统的控制,,,,在1号机EP室设一台工控机为单位灰处置惩罚PLC提供操作界面;;;;;设置一套公用PLC控制系统,,,,认真三台机组的干灰压送、干渣压送管道切换、协调6台空压机的运行等,,,,在1号机灰压送室设一台工控机为公用灰处置惩罚PLC提供操作界面。。。。。
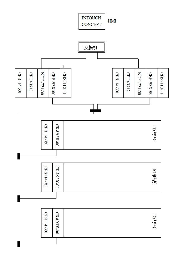
2.控制系统硬件设置:
系统硬件接纳施耐德Quantum系列PLC,,,,组态软件接纳施耐德自己开发的Concept2.0软件;;;;;画面体例接纳Wondeware公司的INTOUCH9.0;;;;;INTOUCH与PLC的通讯接纳以太网MODIBUS协议;;;;;
#1机组单位灰处置惩罚PLC系统接纳双CPU、双网络,,,,分为三个IO站,,,,第一个IO站主要认真干渣网络;;;;;第二、三个站主要认真干灰网络和干渣压送;;;;;
公用PLC接纳单CPU,,,,认真三台机组的干灰压送、干渣压送管道切换、并协调6台空压机的运行;;;;;
#1机组单位灰处置惩罚PLC主要硬件设置:
|
代号 |
名称 |
数目 |
|
140CPU43412 |
CPU模浚块 |
2 |
|
140CRA93200 |
I/O通讯模件(CPU侧) |
2 |
|
140CRP93200 |
I/O通讯模件(IO侧) |
3 |
|
140NOE77100 |
网络模件 |
3 |
|
140CHS11011 |
热备模件 |
2 |
|
140CPS11420 |
电源模件 |
5 |
|
140DDI35300 |
DI模件(32点) |
17 |
|
140DO35300 |
DO模件 (32点不带继电器) |
10 |
|
140ACI03000 |
AI模件 (4-20MA 8点) |
6 |
|
140ARI03010 |
AI模件(RTD 8点) |
2 |
|
140ACO02000 |
AO模件(4点) |
3 |
#1机组单位灰处置惩罚PLC系统结构示意图:

3.控制系统软件设计:
本系统组态接纳FBD功效快,,,,并使用Concept支持自界说模浚块的功效,,,,自界说了电机与电磁阀的DEVICE模浚块,,,,,,,,将本系统PLC的组态软件Concept做成了DCS化;;;;;

图1.自界说的DEVICE模浚块
4.控制系统简介:
本系统分为四个部分:干灰网络系统、干渣网络系统、干灰压送系统、干渣压送系统;;;;;
4.1 干灰网络系统:
干灰网络系统分为四大系统:灰斗、支管、过滤器、负压风机;;;;;它由两套可以单独运行的真空飞灰子系统组成。。。。。子系统A效劳于8个EP灰斗和4个空预器灰斗。。。。。EP灰斗被分成两列,,,,而4个空预器灰斗另外组成一列。。。。。子系统B与之相类似,,,,效劳于两列(每列4个)EP灰斗和一列省煤器灰斗(6个)。。。。。自力设置的传输管线、布袋过滤器/网络器和负压风机让我们能够单独对任一子系统举行操作。。。。。每个子系统中的飞灰最后都要送入#1灰库,,,,干灰网络系统的负压风机为干灰网络的运送动力源,,,,使用负压风机的抽吸作用,,,,在系统内形成真空,,,,每个灰斗下设有气动物料运送阀,,,,它使灰飞顺遂地进入运送管道,,,,灰斗凭证程序设定的顺序一个一个划分出灰,,,,当一个灰斗内灰清空,,,,就自动进入下一个灰斗最先出灰,,,,云云循环一连运送;;;;;通过A、B两个子系统的切换门与管线,,,,飞灰通过A/B布袋过滤器网络器中的恣意一起进入#1灰库,,,,干灰和空气在布袋过滤网络器内疏散后,,,,干灰进入#1灰库,,,,而净化的空气则通过负压风机进入大气。。。。。中心灰库的干灰再通过干灰压送系统运至煤灰公司原灰库;;;;;
系统真空度凭证系统选择过滤器所选的压力变送器来决议,,,,灰斗飞灰排放流程分为4个状态:PSL(灰斗清空值) PSH(灰斗关)、PSML(灰斗允许开)、PSML(灰斗允许开),,,,灰斗的开启由真空值决议,,,,在PSL时翻开灰斗,,,,PSH时关闭灰斗,,,,PSMH时再翻开灰斗;;;;;灰斗在放灰的历程中,,,,灰斗一直地开启和关闭,,,,云云循环重复,,,,最后直至灰斗清空,,,,跳到下一个灰斗出灰。。。。。
飞灰经由切换阀,,,,进入过滤器,,,,过滤器运行规则为:开通气泵与滤布的平衡门->3s后翻开顶门,,,,一连一段时间(设定)后关闭顶门->开通气泵与灰库的平衡门->3s后翻开底门、翻开下部流化门,,,,一连一段时间后关闭底门、关闭下部流化门、通气泵与滤布的平衡门,,,,云云循环。。。。。若是在循环的历程中过滤器气锁阀不自动运行了,,,,过滤器气锁阀也要完成一个循环才华完全停下来。。。。。
4.2 干灰压送系统
干灰压送在公用PLC中实现,,,,压灰流程:开压送容器入口门->开灰接纳槽出口门->一连120s,,,,若是在120s内泛起料位高则阻止出灰->关接纳槽出口门->关压送容器入口门->5s后开主空气门->一连600s,,,,在这段时间内若是泛起从压力高变到压力低,,,,则阻止压灰,,,,关闭主空气门->过10s最先循环;;;;;

图2.干灰网络
4.3 干渣网络系统
锅炉炉底渣通过锅炉新建渣井落在MAC机运送钢带上,,,,热渣在运送的历程中被起源冷却,,,,起源冷却后的炉底渣通过一级碎渣机破碎成小于70mm粒经后,,,,进入后续冷却器继续冷却。。。。。经由两级冷却后的炉底渣通过三通讨论倾轧,,,,三通讨论其中两个出口毗连干渣正压压送系统,,,,另外一个出口毗连紧迫卸渣系统;;;;;
4.4 干渣压送系统
干渣压送依赖灰用气泵的压力对干渣举行正压压送,,,,三个气泵可以恣意选择,,,,但必需包管只能同时只有一个气泵进灰和同时只有一个气泵出灰;;;;;
单个气泵运行顺序:开平衡门(开反吹门)->10s后开进料阀门(关反吹门)->开阻遏门->设准时间到或者料位高一连3s后->关阻遏门->5s后关进料阀门->7s后关平衡门->开进压门->5s出料门凭证管道压力开或关->出料门累积开设准时间->关出料门->关进压门;;;;;

图3.干渣网络与压送
5. 小结
宝钢电厂1号机组单位灰渣处置惩罚刷新在手艺上有了很大的立异,,,,包括DEVICE的建设、控制思绪等等,,,,为以后灰渣系统的PLC控制DCS化涤讪了基础。。。。。
谢谢您对BBIN游戏的关注,,,,有任何您体贴或想相识的问题
都请留言,,,,我们将尽快给您回访。。。。。










